DATAMATH  CALCULATOR  MUSEUM

Additional Pictures 

 

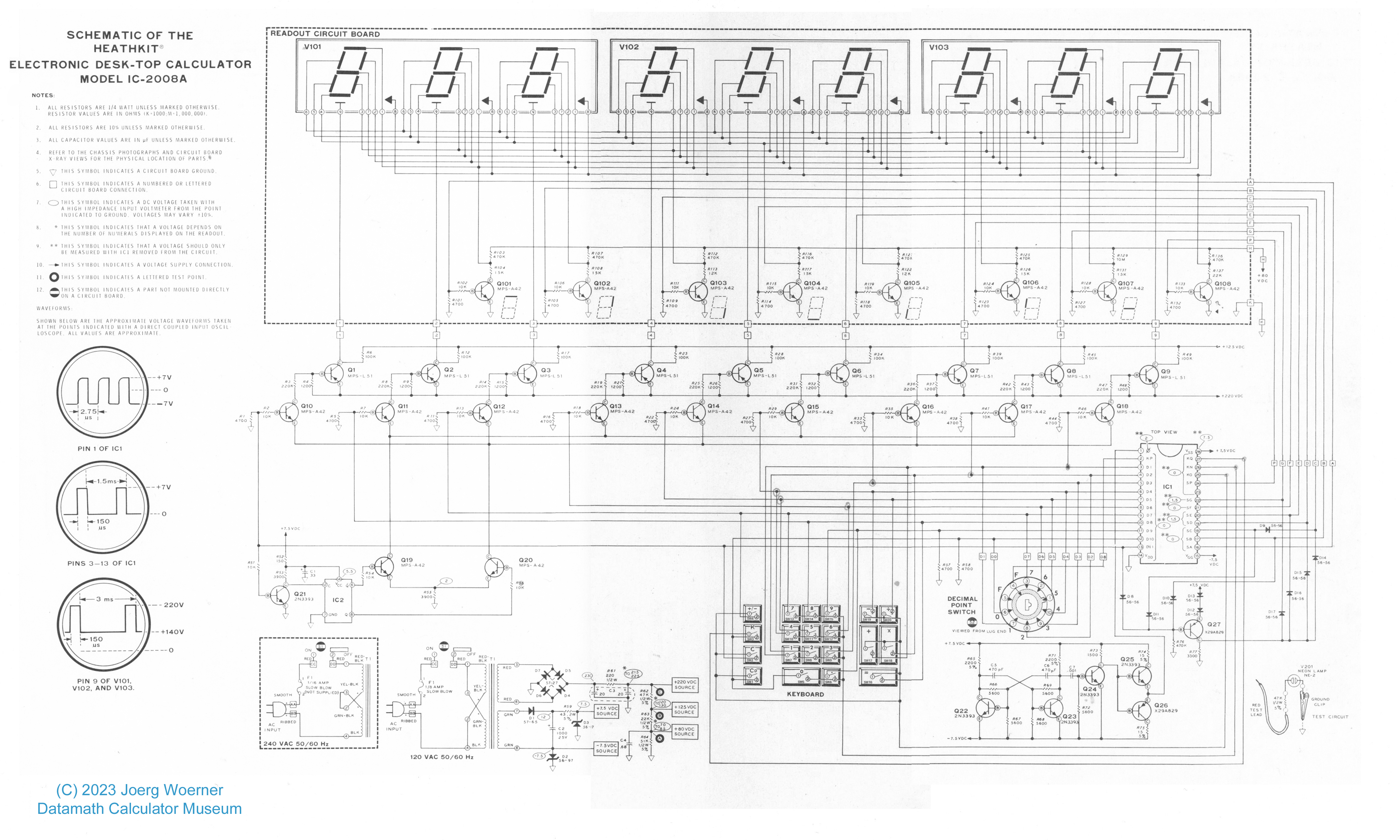
Full schematic diagram of the Heathkit IC-2008A.

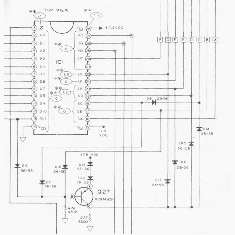
TMS0101 Detail of the IC-2008 schematic diagram


horizontal rule

If you have additions to the above article please email: joerg@datamath.org.

© Joerg Woerner, March 18, 2023. No reprints without written permission.